Atkinson Tank Alarm Series – 9v Battery Overfill Alarm
ATKINSON EQUIPMENT LTD.
Model No TA1010: 9v PP3 Battery Overfill Alarm
Installation
ALL ELECTRICAL WIRING SHOULD BE PERFORMED BY A COMPETENT ELECTRICIAN.
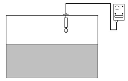
1) Install the probe into the tank as illustrated below. You will require a hole approximately 20mm (3/4”) Diameter
|

Carefully install the probe through the 20mm hole, ensuring the sealing gasket is in place. Secure to the tank by means of the self-tapping screws supplied.
2) Before securing the probe, adjust the depth of the probe to your particular requirement using the gland supplied at the top of the probe
3) To install the alarm box, take the bracket supplied on the back of the unit and affix it where required (NOTE: although the alarm box is suitable for installation in exposed locations, it is advised that the unit is not installed so that the sounder will ingress rain water)
4) Run the cable from the probe to where the alarm box will be secured and connect the twin core cable to the terminals in the box marked “+ / -“. To do this you will have to remove the back plate of the alarm box. All cables should be run through cable glands on bottom of alarm box.
5) Before replacing the back plate, remember to place the PP3 (9v) battery in to the appropriate terminal the correct way around, battery life is approximately 18 months.
Operation
To test the alarm, push the test button on the face of the alarm box and hold for a short while, the alarm should then sound for approximately 5 seconds.
The alarm will automatically sound in the event of the tank being filled to within it’s brimful capacity, this is the signal for the operator to stop filling the tank to prevent overfilling.
When the alarm sounds as a warning you are required to reset the alarm by pressing the test button.
Please note these alarms are not classed as intrinsically safe.
